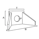
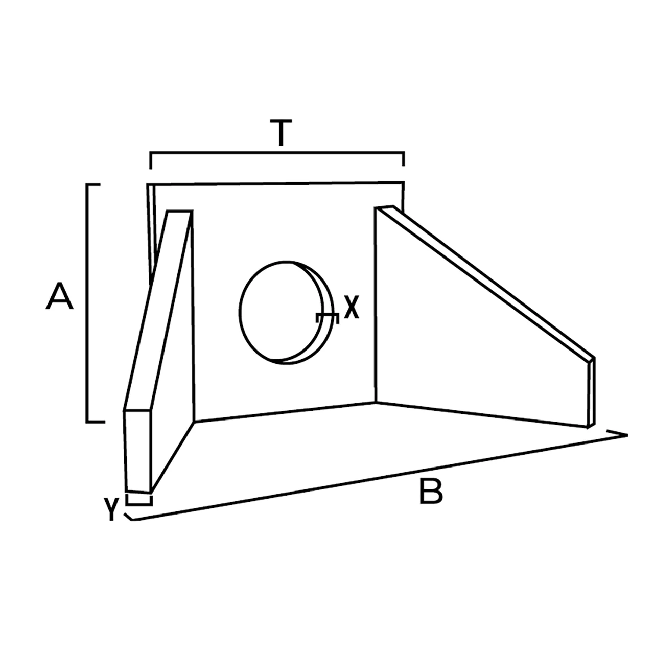
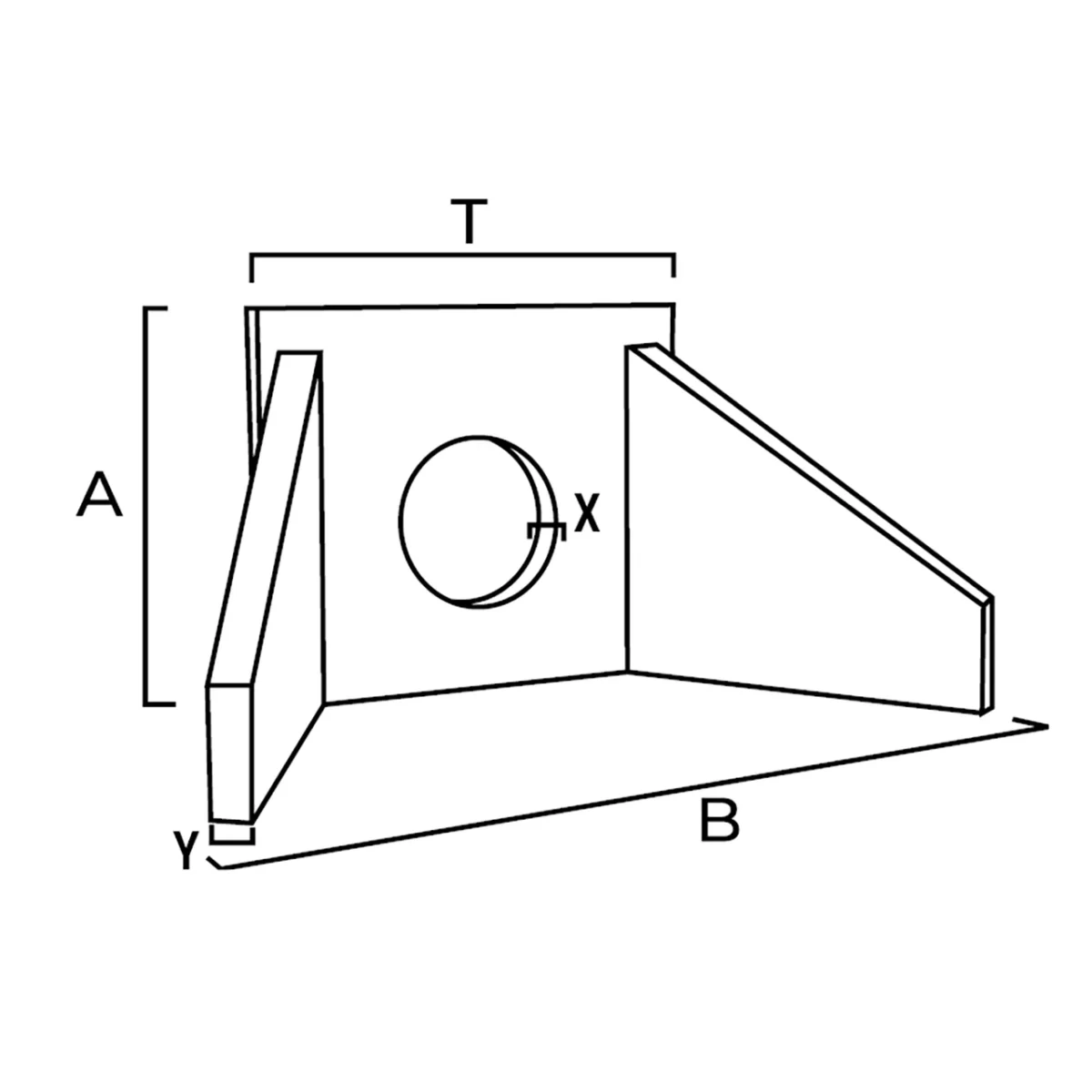
Boca De Aterro – Tipo 3
Boca De Aterro – Tipo 3
Bocas de aterro para utilização na construção de passagens hidráulicas e saneamento, permitem a proteção das entradas e saídas, protegendo-as de eventuais obstruções e/ou deslizamentos de terras.
Documentos
Apresentamos uma lista de documentos relacionados com este produto.
Produtos Visualizados Recentemente
Apresentamos uma lista de produtos visualizados recentemente.
