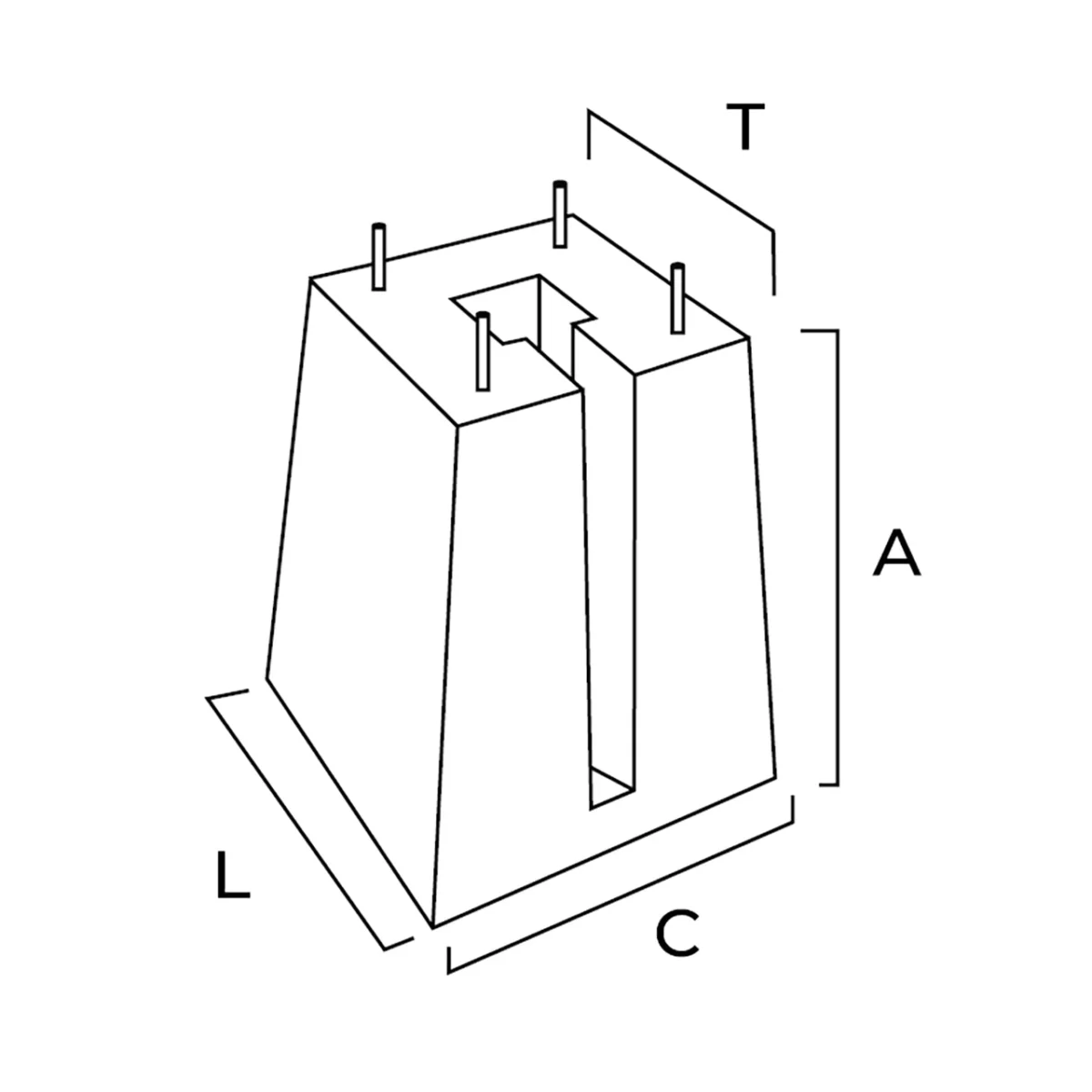
Type 2 Foundation
Foundation bases for lighting columns and/or other similar applications.
Documents
We provide a list of documents related to this product.
Recently Viewed Products
We provide a list of recently viewed products.
Foundation bases for lighting columns and/or other similar applications.
We provide a list of documents related to this product.
Descubra em primeira mão o que a Verdasca Group está a preparar antes do lançamento oficial e receba o nosso catálogo exclusivo ao inscrever-se!